Coronado 43-8241

Coronado 43-8241, Belmont 5D127

This 1946 Coronado 43-8241 still has a nice original white enamel finish.
The unpainted brown version was the model 43-8340.
A pre-war version was issued as the Coronado model C5D15.
Coronado was the brand name given to radios sold at Gamble-Skogmo stores.
This model was made by Belmont Radio Corp (Belmont model 5D127) and
is also found with other brand names on the dial.
The plastic dial is usually found badly warped.


See our BELMONT HISTORY page for much more information.

coronado 43-8241

coronado 43-8241 label

coronado 43-8241 dial
This was the dial before I flattened it to a point where it was usable and presentable.
I took advantage of a 100+degree day and set the dial in the sun for an hour with weights to flatten it.

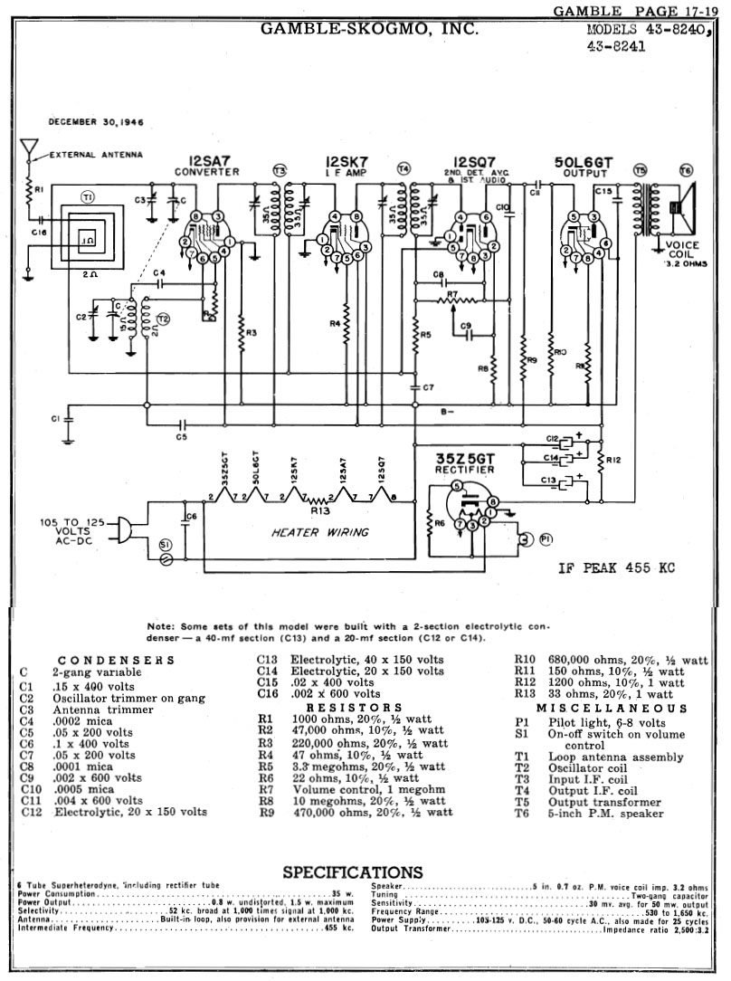
coronado 43-8241 service data

coronado 43-8241 service data

coronado 43-8241 service data

coronado 43-8241 service data

coronado 43-8241 service data






Classic Radio Gallery logo dial